Foto z otevřených zdrojů
Státní ústřední výzkumný ústav strojírenský (TsNIImash, pod Roscosmos) za 2 roky plánuje uvolnit řadu nových plic kosmické trysky pro kosmonauty. Takové brašny poskytovat bezpečnou práci ve vesmíru a pomáhat astronautovi v případě nouze se vraťte na stanici. To hlásil jeden od vývojářů batohu – kosmonautského akademika Ruské akademie astronautika Michail Burdaev.
Foto z otevřených zdrojů
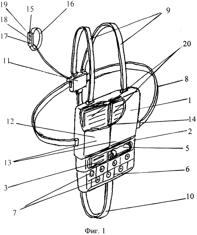
Satchel bude připojen k skafandru, klíčovým rysem satchel je solární panely, které v případě potřeby otočit se. Baterie dobijí baterii, z níž závisí na provozu elektrického proudového motoru.
Foto z otevřených zdrojů
Výzkumník MIPT Ivan Zavyalov to vysvětlil obvyklým způsobem proudový motor spaluje palivo a rychlost přirozeného – výtok plynu tryskou je velmi omezený a Elektrický tryskový motor ionizuje plyn a nabité ionty urychlit s elektrickým polem – v důsledku toho je výstupní rychlost plynu 10 a vícekrát než u chemického motoru. Proto takový motory spotřebovávají mnohem méně paliva. V Rusku jsou dva výrobní místa zabývající se tvorbou elektro-kreativy motory – OKB “Fakel” od Kaliningradu a OJSC “KB Himavtomatiki” z Voroněže.
Kromě toho novinkou vynálezu Burdaeva a jeho kolegů z TsNIImash je v dalších motorech, které budou připevněte se před skafandr a sloužte jako brzda – potřebuje astronaut bezpečné setkání s lodí, když letí zpět, obvykle vysokou rychlostí. Předpokládá se, že hmotnost vesmírné brašny nebude více než 10 kg.
– Myšlenky vesmírných batohů pro volný pohyb vesmír už dlouho, dokonce i mezi autory science fiction. Jeden z prvních vzorky, které měli Američané raketovou zbraň, se kterou měli sám. Jedná se o malý proudový motor připomínající dámské vysoušeč vlasů. Ve skutečnosti můžete také létat fénem, i když ne venku prostoru a uvnitř stanice. Například kosmonaut Jurij Artyukhin uvnitř stanice letěla na domácí vysavač, – říká Burdaev.
Člověk poprvé vstoupil do vesmíru před 50 lety. 18. března 1965 to provedl astronaut Alexej Leonov na lodi “Sunrise 2”. V současné době ruské a americké astronauty spojit se se stanicí pomocí halyardů (kabelů) s karabinami, které jsou připojeny k budově stanice. Halyards střídavě lpí na strukturální prvky a jsou pevné, což neumožňuje astronautům létat do vesmíru.
– otázky instalace zařízení na vnějším povrchu stanice, i když jsou zvažovány a navrženy předem, ale přesto vyžadují zapojení lidí. I když nemáme dokonalé stroje a roboty, které mohou nahradit lidskou práci ve vesmíru, existuje také potřeba opravy zařízení. Například v V roce 1979 šli do Kosmonauti Vladimír Lyakhov a Valery Ryumin otevřený prostor v neplánovaném režimu a rozepnul anténu KRT-10, který, když se oddělil od stanice, pokazil, zahnutý pro sousední zařízení a zasahoval do letu lodi. V podobné situaci robot nepomůže, “říká astronaut Burdaev.
– Hodně záleží na velikosti bezpečného odstranění astronauta z stanice. V tomto případě máme na mysli takovou vzdálenost od stanice, ve kterém satchel poskytuje návrat. Koneckonců, všichni zařízení mají omezené možnosti. Sluneční energie může pohybujte astronautem – v závislosti na velikosti sluneční energie baterie – na 50 – 100 m. A pak to skončí jako benzín. Američanům se podařilo několikrát vyrazit do zahraničí desítky metrů. Podaří se jim z vyčerpaných prostředků odebrat satelity nejcennější části a namontovat je na nové spouštění satelity. To znamená, že satelit neopouští Zemi ne v sadě, ale pouze částečně.
Foto z otevřených zdrojů
V současné době podnik “Star” (vyvíjí se) spaceuits) byla vytvořena kosmická záchranná jednotka (USK), která poskytuje příležitost k návratu do mezinárodního vesmíru stanice, ale momentálně se nepoužívá. Její váha 55 kg, nemá brzdové zařízení a chybí dobít ze slunce.
– V 80. letech měla tato zařízení další úkoly. Sovětský a američtí experti byli zaneprázdněni vývojem nástrojů pohyb astronautů (SPK) ve vesmíru. Sovětský Nazývá se 400 liber vynález v každodenním životě „motocykl“, připomíná také židli s úchyty tam je satchel, který se připojí k skafandru, a umístěný za plynové lahve a motory. Tento nástroj umožnil odletět stanice nebo z raketoplánu, zachytit nebo zkontrolovat jakékoli satelit a vrátit se. Buď prázdné nebo se satelitem. Sovětské zařízení bylo použito pouze jednou pro ověření v roce 2007 1990 rok. Nyní je výzvou bezpečnost. Pokud osoba odešla, musí být vrácena, – říká zástupce Hlavní konstruktér elektrárny OAO Zvezda Alexander Lazutkin. – Příští generací zařízení byla americká SAFER – zjednodušená Podpora na záchranu EVA, doslova „lehké záchranné zařízení kosmonaut ve vesmíru, “vydáno v roce 1994. Toto menší instalace, Američané si ji dali na volno skafandr před odchodem. Zařízení je malé rám dodávky plynu. V případě oddělení astronautů od její stanice můžete vždy začít a vrátit se.
Ale protože nikdo nikdy nevystoupil ze stanice, SAFER nikdy jednou Burdaev říká, že schůzka nebyla využita, přestože je nošený spacewalk. Zdůraznil, že nový vývoj zahrnuje to nejlepší z americké a ruské zkušenosti.
– Pravděpodobnost oddělení od stanice je vysoká, nicméně, když kosmonaut se v historii odpojil a odletěl do vesmíru žádná astronautika. Byly případy, kdy se člověk ztratil v nepřítomnosti taška na nářadí nebo jiné věci a oni odletěli, – říká Burdaev. – Palivo v satchelu je zpravidla trochu. Ale pokud musíte tedy zaručit návrat z větší vzdálenosti než 100 m bude muset zvýšit množství paliva v projektu. Pokud osoba letěla ve slunném stínu zamrzne. Teplota v prostoru dosáhne mínus 70 stupňů a níže a ve stínu – mínus 150 stupňů. Ve stínu můžete lézt, ale ne na dlouho. První sovětské stanice pravidelně otočil se ve vztahu ke slunci z jedné strany, pak z druhé strany jak se ohýbali, protože když slunce ohřívá jednu stranu, další zchladí – stanice, jako housenka, se kroutila.
Hlavní specialista společnosti Rocket and Space Corporation Energia, Kosmonaut Yuri Usachev podporuje vývoj nových nástrojů pro pohybující se ve vesmíru.
– Taková zařízení astronauti potřebují. Zabezpečení dnes Rusští astronauti poskytují pouze halyardy a karabiny, – řekl Usachev.
Časoví roboti Rusko Sun
